IT之家 6 月 21 日消息,在 5 月的《崩坏:星穹铁道》演唱会上,米哈游正式公开了《崩坏》IP 新作,但没有透露具体名称。
不过,上海米哈游万众一体科技有限公司于 6 月 13 日取得了《崩坏:因缘精灵》软件著作权的全部权利,版本号 V0.1。

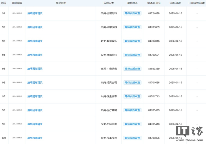
IT之家注意到,米哈游此前已经在美国、韩国等地区注册了《崩坏因缘精灵(Honkai: Nexus Anima)》商标,相关社交媒体账号也已在B站、X(原推特)上注册。

此外,米哈游在此前的一次招聘公告中提及了本作的介绍:玩家可在悠闲的海边小镇与风格各异的位面中穿行游历,收集形形色色的因缘精灵,组成独属于玩家的阵容;玩家还可以培养并进化精灵,作为棋子参与刺激的自动战棋;借助精灵的力量飞行、滑翔、冲浪,探索隐藏奥秘。
4001102288 欢迎批评指正
Copyright © 1996-2019 SINA Corporation
All Rights Reserved 新浪公司 版权所有
All Rights Reserved 新浪公司 版权所有
